-
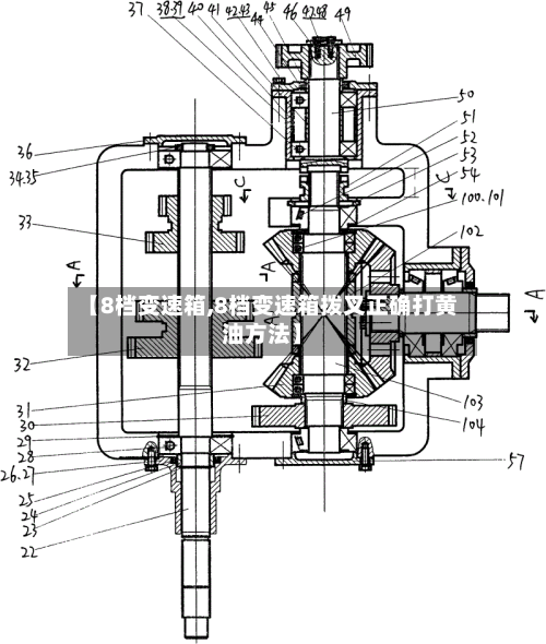
【8档变速箱,8档变速箱拨叉正确打黄油方法】
法士特8档变速箱不同型号优缺点对比〖壹〗、不同型号的法士特8档变速箱在传动效率、扭矩适应范围、换挡平顺性等方面存在差异。有的型号侧重于高效传动,能降低能量损耗,提高车辆燃油经济性;有的型号扭矩承载能力强,适用于重载运输场景;还有的型号在换...
法士特8档变速箱不同型号优缺点对比〖壹〗、不同型号的法士特8档变速箱在传动效率、扭矩适应范围、换挡平顺性等方面存在差异。有的型号侧重于高效传动,能降低能量损耗,提高车辆燃油经济性;有的型号扭矩承载能力强,适用于重载运输场景;还有的型号在换...